Middleware Inc. received patent "System and Methods for a Resource-Saving Exchange Protocol Based on Trigger-Ready Envelopes Among Distributed Nodes."
1 June 2021, Redwood, California. – Middleware Inc. received the confirmation for the issuance of the patent №20190019182 for Trigger.Cards technology in the USA. The patent is titled “System and Methods for a Resource-Saving Exchange Protocol Based on Trigger-Ready Envelopes Among Distributed Nodes”.
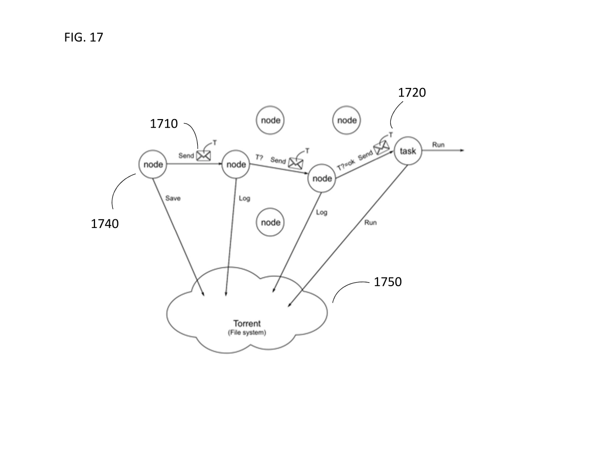
Trigger.Cards technology lets you build a distributed network for the secure interaction between people, companies and any software. Some possible use-cases of the Trigger.Cards: smart-contracts, distributed messengers, payments.
![]() |
|---|
| Trigger.Cards technology allows to separate triggers (external events) and executable algorithms. |
![]() |
|---|
| The node is waiting for external signals\triggers. Upon receiving the signal, the node opens the envelope and launches the algorithm described inside. |
Source: USPTO.

